Iglesia parroquial de Odón
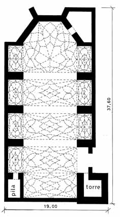
La iglesia de San Bartolomé de Odón es un edificio de mampostería con una sola nave de cuatro tramos. De acuerdo con la tipología de iglesia de finales del siglo XVI tiene cabecera poligonal, capillas entre los contrafuertes, arcos de las capillas semicirculares, puerta en el lado de la Epístola y bóveda de crucería estrellada. Su interior se decoró con estucos barrocos a principios del siglo XVIII. La puerta se cobija bajo un arco rebajado, cuyo intradós está acasetonado. La portada tiene dos cuerpos, el inferior con sendas columnas clásicas y el superior con hornacina avenerada flanqueada por dos óvalos con figuras en relieve.
De la documentación conservada se desprende que el proceso constructivo fue largo. La cabecera se renovó a partir de 1595, mientras se mantenía el cuerpo del templo anterior. En 1605 se ordena, en visita pastoral, hacer nuevas las capillas. Las obras siguieron durante varios años, al menos durante la primera década del siglo XVII. Para entonces se habría hecho nuevo el templo desde la cabecera hasta la portada. La parte del coro y la torre serían aún del templo viejo. Un siglo después, a comienzos del XVIII, se continuaría con las obras. La primera noticia es la muerte del cantero Ignacio Pacechea, natural de la cercana localidad de Used, en 1706. Una década después todavía no se ha terminado de derribar la Iglesia anterior.
En 1720 aparece domiciliado en la localidad y bautizando una hija el Maestro de Obras Mateo Colás. A él corresponde posiblemente la terminación del templo y la labor de cubrir con estuco el interior del mismo. El pago que se le hace en 1735 sería posterior a la terminación de las obras.
Elementos destacables
La torre y sus campanas en el exterior.
En su interior se recogen varios retablos barrocos, así como imaginería, pinturas y tablas de los siglos XV, XVI y XVIII:
- El Retablo Mayor del presbiterio, compuesto por seis tablillas góticas del siglo XV en las que se representan distintas escenas de la pasión junto a la duda de Santo Tomás. Estas tablas se insertan en un retablo barroco dedicado al titular en el que junto a escenas de la vida y martirio de éste aparecen San Pedro, San Pablo y el Calvario.
- En el lado del evangelio destacan los retablos de San José, San Marcos y las Almas del Purgatorio. Hay también una imagen de la Virgen del Rosario del siglo XVI. Al XVII corresponden las imágenes de San Sebastián y de un Cristo yacente, así como los lienzos de Judit y de la Divina Pastora.
- En el lado de la epístola, junto a una interesante tabla de la Virgen del Pilar del siglo XVI, aparecen tres retablos del XVII con las imágenes del Santo Cristo, San Juan y la Virgen del Pilar.
- Posee una importante colección de orfebrería. En la sacristía se guarda una cruz procesional plateresca, del segundo cuarto del XVI, realizada en un taller darocense. Del XVIII existe una palmatoria punzonada por el platero zaragozano Arque, un Cáliz
El órgano fue construído por el darocense Miguel López en el año 1733.
Bibliografía
- Carreras Asensio, José María (2003): Noticias sobre la construcción de iglesias en el noroeste de la provincia de Teruel. Siglos XVII-XVIII. Calamocha, Centro de Estudios del Jiloca. Texto completo

